Published:2011/7/7 9:57:00 Author:Felicity | Keyword: Electronic Points Probing Instrument, the 2nd | From:SeekIC

Work of the circuit
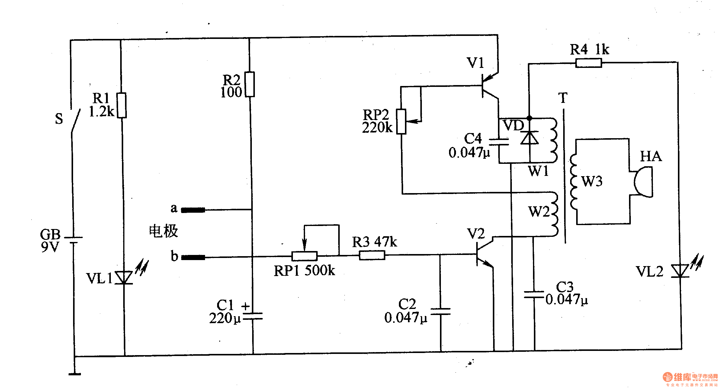
The circuit consists of probing circuit, OSC, acousto-optic indicating circuit and power circuit. (It is showed in picture 9-39.)
Turn on the switch S. put one pole in the tester’s hand. And use the other one to probe the acupoint near the ears. The 9V voltage of GB makes the OSC work. It also drives HA to make sound. If the electric resistance of the acupoint is small, the frequency of the OSC is higher. The tone of the sound which is made by HA is higher. It works on the other way.
Reprinted Url Of This Article:
http://www.seekic.com/circuit_diagram/Signal_Processing/Electronic_Points_Probing_Instrument_the_2nd.html
Print this Page | Comments | Reading(3)
Code: