Published:2011/6/25 5:28:00 Author:Felicity | Keyword: Electronic Weight Instrument (the 2nd) | From:SeekIC

Work of the circuit
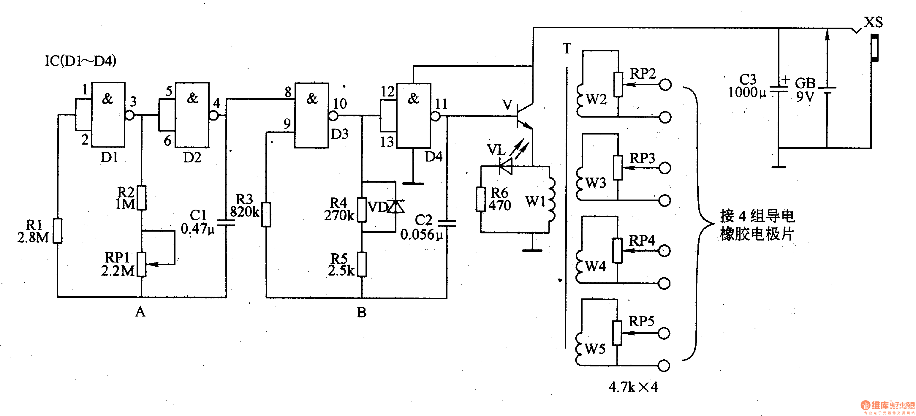
The circuit consists of OSC A, OSC B and step-up circuit. (It is showed in picture 9-37.)
OSC A is used to produce signal of low frequency to control OSC B. change the value of RP1 to change the rate of the signal of low frequency.
OSC B is under the control of OSC A. It can produce pulse signal string of low frequency. The signal is amplified and changed by the step-up circuit. It produces pulse voltage of low frequency on W2-W5. The voltage is adjusted by RP2-RP5. Then it is added on the proper part of body by poles.
Reprinted Url Of This Article:
http://www.seekic.com/circuit_diagram/Signal_Processing/Electronic_Weight_Instrument_the_2nd.html
Print this Page | Comments | Reading(3)
Code: