Published:2011/5/20 1:49:00 Author:Felicity | Keyword: Eye-care Lamps (the 1st) | From:SeekIC

Work of the circuit
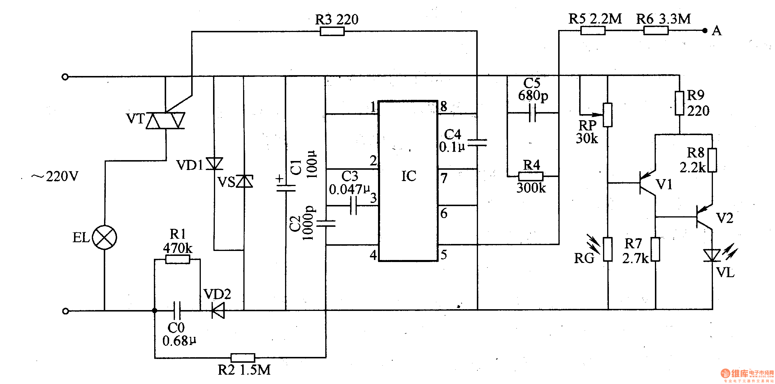
The circuit consists of power circuit, touching light adjust circuit, control execute circuit and light examine circuit (It is showed in picture 9-68.).
When hand touches pole A body inducted signal is supplied to rC’s pin 5 through resistor R5 and R6 to make circuit within IC work. The function of light examining can protect the user’s vision in case the light is too dim.
Reprinted Url Of This Article:
http://www.seekic.com/circuit_diagram/Signal_Processing/Eye_care_Lamps_the_1st.html
Print this Page | Comments | Reading(3)
Code: