Published:2011/7/17 4:37:00 Author:Felicity | Keyword: Eye-care Lamps | From:SeekIC

Work of the circuit
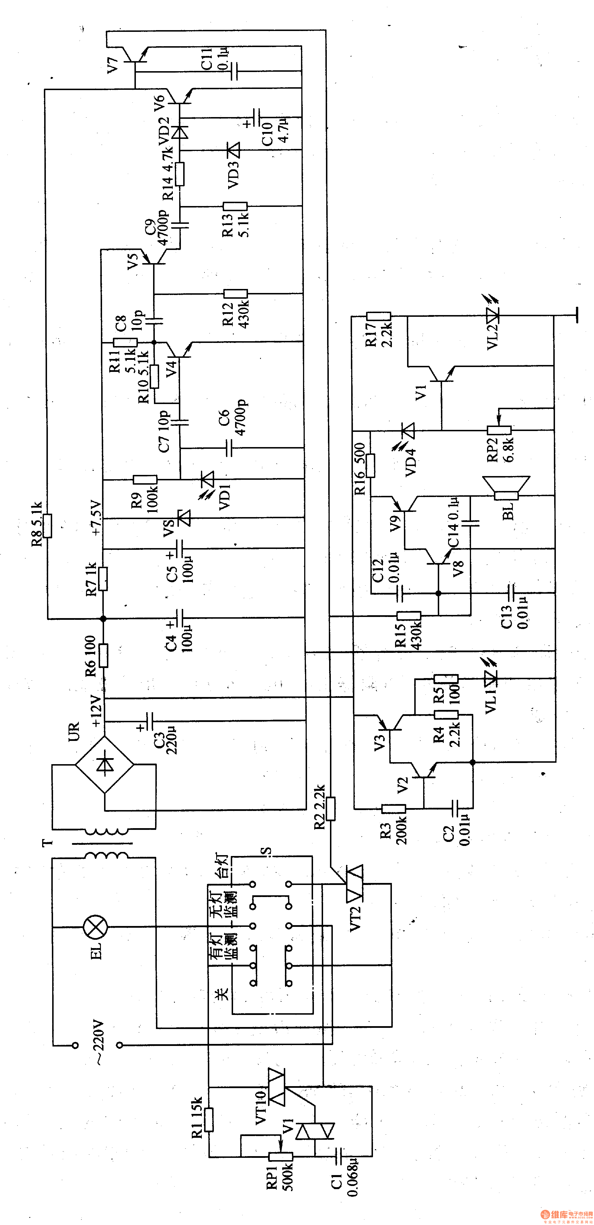
The circuit consists of power circuit, infrared radiation circuit, infrared reception and amplifying circuit, rectifying circuit, electric switch circuit , function control circuit and so on (It is showed in picture 9-73.).
Power circuit consists of power transformer T, bridge rectifier, UR, filter capacitors C3, C4, C5, current limiting resistor R6, R7 and Zener VS.
Infrared radiation circuit consists of resistors R3-R5, capacitor C2, transistor V2, V3 and infrared light-emitting diode VLl.
Infrared reception amplifying circuit consists of infrared photodiode VDl, resistors Rg-Rll, capacitors C6, C7 and transistor V4, V5.
Rectifying circuit consists of capacitor C9, ClO, resistors R13, R14 and diode VD2, VD3.
Electric switch circuit consists of resistor R2, R8, capacitor Cll, transistor V6, V7 and thyristor Vm.
Sound alarm circuit consists of resistors R5, R6, capacitors C2-known, the transistor V8, Vg and speaker BL.
Function control circuit consists of Function switch SL resistors Rl, potentiometers RPl, capacitor Cl, two-way trigger diode VlO and thyristor VTl.
When the user’s read-write distance is ok, the voice alarm circuit doesn’t work. When the user’s read-write distance is too near BL will alarm.
When the environmental light is good VL2 does not work. But if the environmental light is poor for reading and writing VL will be lighten to remind the user.
Reprinted Url Of This Article:
http://www.seekic.com/circuit_diagram/Signal_Processing/Eye_care_Lamps_the_6th.html
Print this Page | Comments | Reading(3)
Code: