Published:2011/6/6 5:22:00 Author:Felicity | Keyword: Eye-care Lamps (the 7th) | From:SeekIC

Work of the circuit
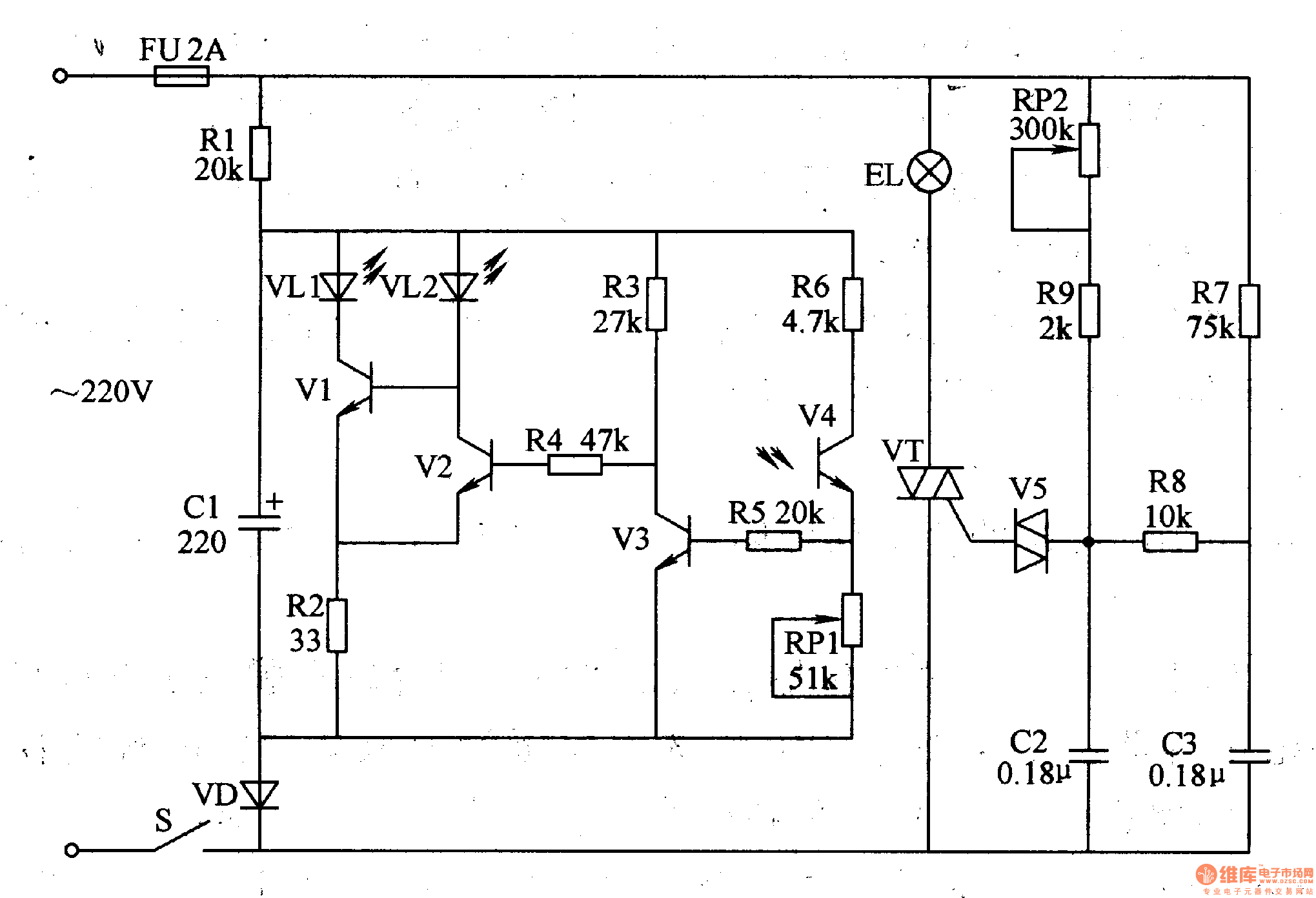
The circuit consists of light examine circuit and light adjusting circuit (It is showed in picture 9-74.).
When you turn on power switch the 220V AC voltage produces 2.2-2.4V DC voltage in CI. When the lamp light is weak the red diode is lightened. When the lamp light is strong enough the green diode is lightened.
You can change the value of RP2 to change the light intensity of the lamp.
Reprinted Url Of This Article:
http://www.seekic.com/circuit_diagram/Signal_Processing/Eye_care_Lamps_the_7th.html
Print this Page | Comments | Reading(3)
Code: