Published:2011/5/22 7:08:00 Author:Felicity | Keyword: Eye-care Photometry Machine (the 1st) | From:SeekIC

Work of the circuit
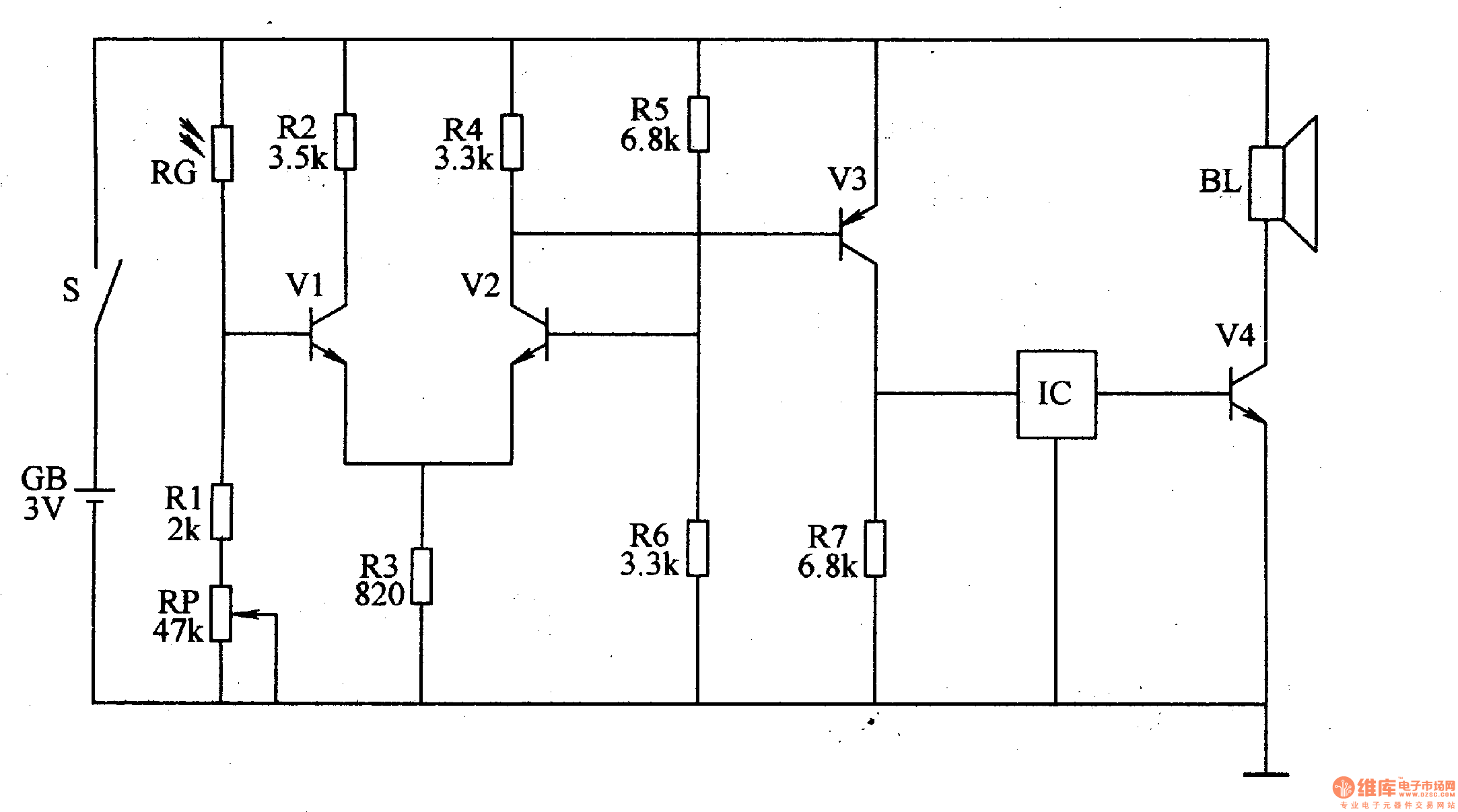
The circuit consists of photometry circuit, controlling circuit and music warning circuit (It is showed in picture 9-65.).
RG is a photometry element whose value decrease with the luminous heightening. When the environmental light is suitable for reading and writing the value of RG is small. Here IC and BL do not work. When the environmental light is not suitable for reading and writing the value of RG is increasing. Here IC works and BL makes music to remind the user to flip on the lamp. Change the value of RG to change the sensitivity of photometry.
Reprinted Url Of This Article:
http://www.seekic.com/circuit_diagram/Signal_Processing/Eye_care_Photometry_Machine_the_1st.html
Print this Page | Comments | Reading(3)
Code: