Published:2011/5/22 7:10:00 Author:Felicity | Keyword: Eye-care Photometry Machine (the 2nd) | From:SeekIC

Work of the circuit
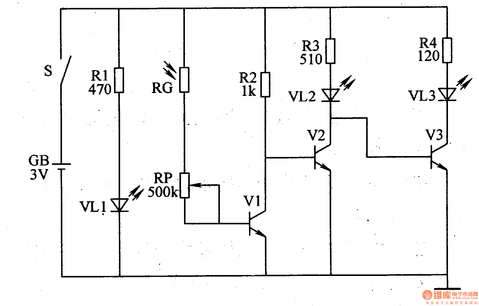
The circuit consists of power circuit, light photometry circuit and LED indicating circuit (It is showed in picture 9-66.).
Turn on the power switch S and VL1 is lightened. When the environmental light is suitable for reading and writing the value of RG is small. Here VL2 does not work while VL3 works. When the environmental light is not suitable for reading and writing the value of RG is increasing. Here VL2 starts to work while Vl3 stops. Change the value of RG to change the sensitivity of photometry.
Reprinted Url Of This Article:
http://www.seekic.com/circuit_diagram/Signal_Processing/Eye_care_Photometry_Machine_the_2nd.html
Print this Page | Comments | Reading(3)
Code: