Published:2009/7/19 23:39:00 Author:Jessie | From:SeekIC

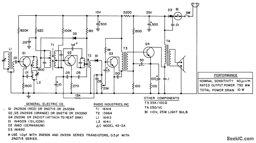
Nominal sensitivity is 40 microvolts per meter, power output 750 mw, and total power drain 10 w. - Transistor Manual, Seventh Edition, General Electric Co., 1964, p 297.
Reprinted Url Of This Article:
http://www.seekic.com/circuit_diagram/Signal_Processing/FOUR_TRANSISTOR_A_C_LINE_SET.html
Print this Page | Comments | Reading(3)
Code: