Published:2009/7/19 23:11:00 Author:Jessie | From:SeekIC

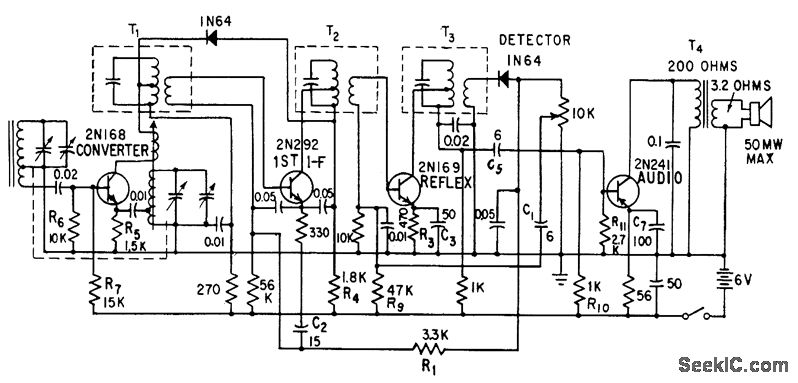
Second if stage doubles as audio amplifier to give five-stage performance.-E. Gottlieb, Transistor Reflex Circuit Trims Receiver Costs, Electronics, 31:1, p 66-68.
Reprinted Url Of This Article:
http://www.seekic.com/circuit_diagram/Signal_Processing/FOUR_TRANSISTOR_REFLEX_PORTABLE.html
Print this Page | Comments | Reading(3)
Code: