Published:2009/7/6 20:39:00 Author:May | From:SeekIC

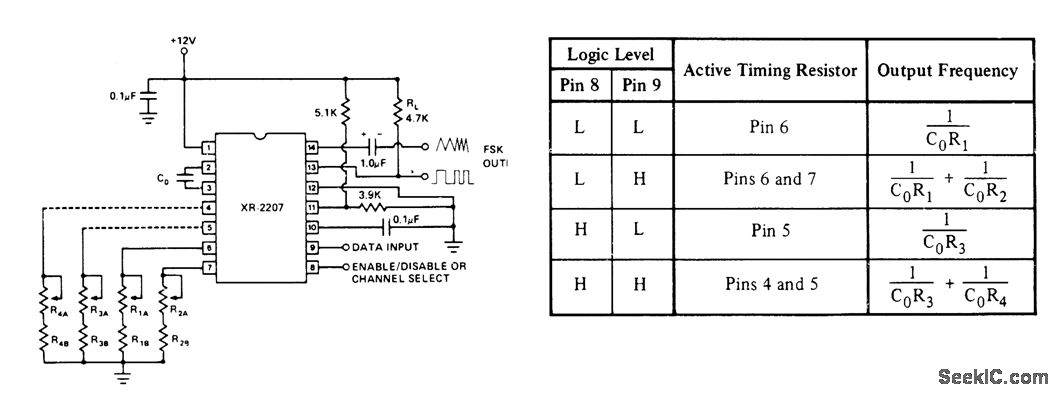
Uses Exar XR-2207 FSK modulator connected for single-supply operation, to produce triangle or square FSK outputs for either single-channel or two-channel multiplex operation. Used in transmitting digital data over telecommunication links. Table gives equations for selecting timing resistors R1-R4; resistor values are in ohms, C0is in farads, and frequency is in hertz. For optimum stability, R1 and R3 should be in range of 10K to 100K. For two-channel multiplex, make connections shown by dotted lines.- Phase-Locked Loop Data Book, Exar Integrated Systems, Sunnyvale, CA, 1978, p 57-61.
Reprinted Url Of This Article:
http://www.seekic.com/circuit_diagram/Signal_Processing/FSK_SQUARE_TRIANGLE_GENERATOR_.html
Print this Page | Comments | Reading(3)
Code: