Published:2009/7/21 2:35:00 Author:Jessie | From:SeekIC

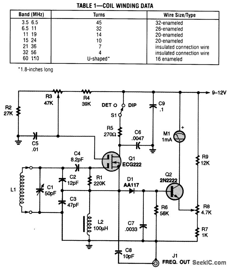
This dip oscillator, based on the classic vacuum-tube circuit, is very useful for checking tuned circuits and antennas, and is a valuable tool for the RF experimenter. Coil forms are 1/2-in diameter plastic tubing.
Reprinted Url Of This Article:
http://www.seekic.com/circuit_diagram/Signal_Processing/GATE_DIP_OSCILLATOR.html
Print this Page | Comments | Reading(3)
Code: