Published:2011/5/10 1:18:00 Author:Sue | Keyword: LED, Illuminations | From:SeekIC

The LED illuminations introduced here can be used to make LED labels, motorcycle's lights and ambulance's signal lights.
Working principle:
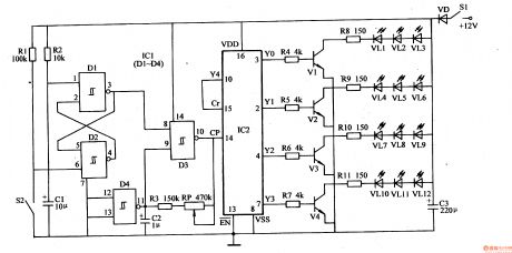
As seen in the figure 1-157, the circuit consists of bistable trigger, clock oscillator and LED drive control circuit.
Bistable trigger circuit consists of resistor R1,R2, capacitor C1, switch S2 and four NAND gate Schimitt trigger integrated circuit IC1(D1-D4)'s inside D1,D2.
Clock oscillator consists of D3,C2,R3 and RP.
LED drive control circuit consists of IC2,R4-Rll,Vl-V4,C3 and VLl-VLl2.
When S1 is connected, +12V voltage provides the working power by S1 and VD.
When S2 is disconnected, bistable trigger output low level, and clock oscillator doesn't work, so the LED illuminations cannot show the effects. When S2 is connected, the bistable trigger reverses, and IC1 outputs high level which make oscillator begin to work, providing IC2's 14 pin(CP terminal) with counting pulse, and IC2's YO-Y4 terminal outputs cycling high level.
When YO terminal outputs high level, V1 is connected, VL1-VL3 are illuminated.
When Y1 terminal outputs high level, V2 is connected, VL4-VL6 are illuminated, while VL1-VL3 are put out.
When Y2 terminal outputs high level, V3 is connected, VL7-VL9 are illuminated, while VL4-VL6 are put out.
When Y3 terminal outputs high level, V4 is connected, VL10-VL12 ARE illuminated, while VL7-VL9 are put out.
When Y4 terminal outputs high lever, IC1 is forced to go back, and its YO terminal outputs high level again.
In this circumstances, the four LED illuminations are illuminated one by one and show the rotating effect.
If we adjust the value of RP, we can change the oscillate frequency of the clock oscillator, so the light rotating effect can be changed.
Reprinted Url Of This Article:
http://www.seekic.com/circuit_diagram/Signal_Processing/LED_Illuminations_1.html
Print this Page | Comments | Reading(3)
Code: