Published:2009/7/1 3:04:00 Author:May | From:SeekIC

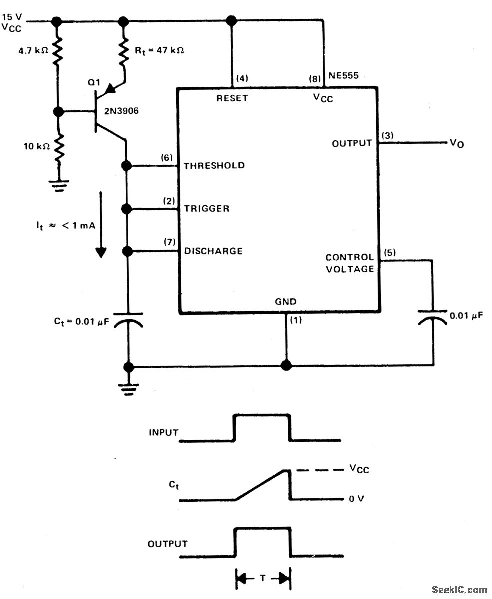
The linear charging ramp is most useful where linear control of voltage is required.Some possible applications are a long period voltage controlled timer, a voltage to pulse width converter, or a linear pulse width modulator. Q1 is the current source transistor, supplying constant current to the timing capacitor Ct. When the timer is triggered, the clamp on Ct is removed and Ct charges linearly toward VCC by virtue of the constant current supplied by Q1. The threshold at pin 6 is 2/3 VCC; here, it is termed VC. When the voltage across Ct reaches VC volts, the timing cycle ends. The timing expression for output pulse with T is:In general, It should be 1 mA value compatible with the NE555.
Reprinted Url Of This Article:
http://www.seekic.com/circuit_diagram/Signal_Processing/LINEAR_RAMP_GENERATOR.html
Print this Page | Comments | Reading(3)
Code: