Published:2009/7/6 2:49:00 Author:May | From:SeekIC

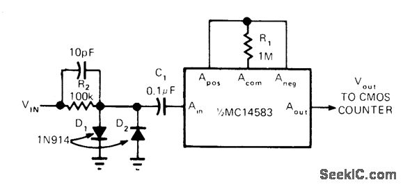
Simple CMOS linear front end for 5-MHz battery-operated counterreduces power drain and makes it proportional to input frequency,With no input,drain is only a few microamperes Half of COUNTER MC14583 CMOS Schmitt trigger forms front end operating from single 6-V battery used In counter,Upper frequency limit is about 3 MHz,and input sensitivity is 400 mV.-D Aldridge,CMOS Counter Circuitry,Slashes Battery Power Requirements,EDN Magazine,Oct,20,1974,p 65-71.
Reprinted Url Of This Article:
http://www.seekic.com/circuit_diagram/Signal_Processing/LOW-DRAIN_2_MHz_FRONT_END.html
Print this Page | Comments | Reading(3)
Code: