Published:2009/7/21 7:21:00 Author:Jessie | From:SeekIC

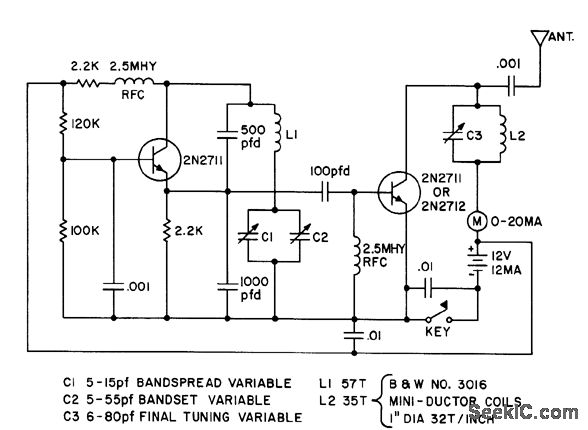
Power output is 100 mw in amateur band.- Transistor Manual, Seventh Edition, General Electric Co., 1964, p 386.
Reprinted Url Of This Article:
http://www.seekic.com/circuit_diagram/Signal_Processing/LOW_POWER_VFO_C_W_80_METER_TRANSMITTER.html
Print this Page | Comments | Reading(3)
Code: