Published:2009/7/20 22:58:00 Author:Jessie | From:SeekIC

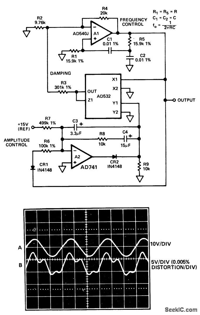
Low-distortion oscillator. A1 is connected as a noninverting amplifier and has again of three. As shown the oscillator output is 1 kHz, determined by R1, R5, C1 and C2. See equation in diagram to determine frequency (courtesy Analog Devices, Inc.).
Reprinted Url Of This Article:
http://www.seekic.com/circuit_diagram/Signal_Processing/Low_distortion_oscillator.html
Print this Page | Comments | Reading(3)
Code: