Published:2009/7/12 21:53:00 Author:May | From:SeekIC

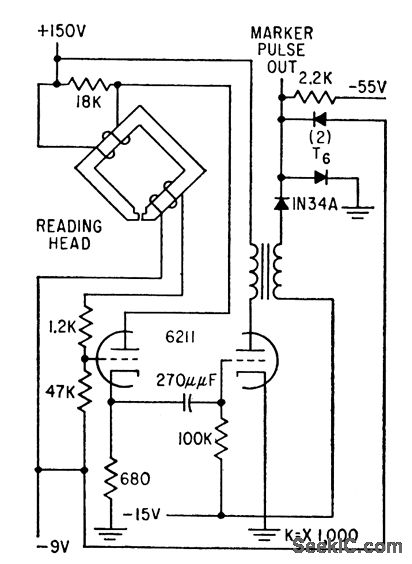
Uses blocking oscillator to generate digit pulses of word being stored in magnetic-spoke disk memory, as well as for generation of index marker pulses.-T.C. Chen and O. B. Stram, Digital Memory System Keeps Circuits Simple,Electronics, 32:11, p130-133.
Reprinted Url Of This Article:
http://www.seekic.com/circuit_diagram/Signal_Processing/MARKER_PULSE_GENERATOR.html
Print this Page | Comments | Reading(3)
Code: