Published:2009/7/16 23:23:00 Author:Jessie | From:SeekIC

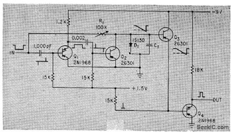
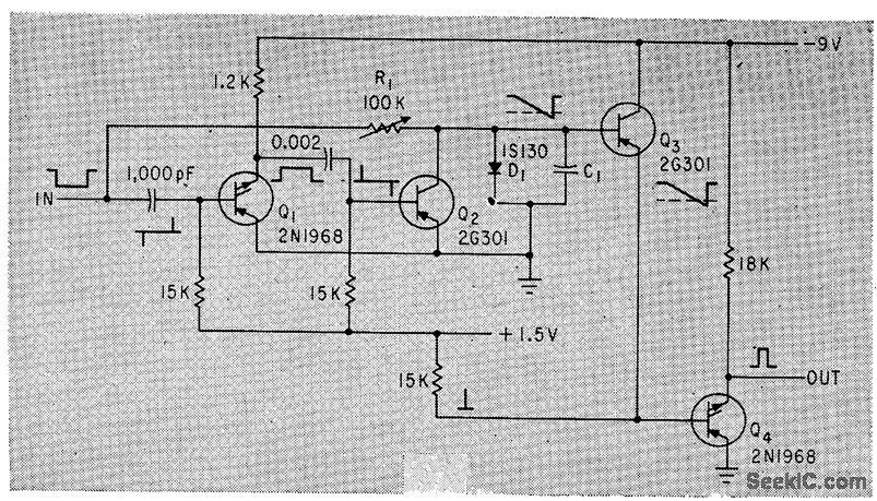
Circuit delivers output pulse only when triggered by input pulse above preset width. Can be used for checking lengths of objects moving past photocell.-K. R. Whittington and G. Robson, Versatile Discriminator Measures Pulse Length, Electronics, 35:31, p 48.
Reprinted Url Of This Article:
http://www.seekic.com/circuit_diagram/Signal_Processing/MEASURING_PULSE_LENGTH.html
Print this Page | Comments | Reading(3)
Code: