Published:2009/7/19 22:34:00 Author:Jessie | From:SeekIC

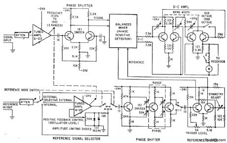
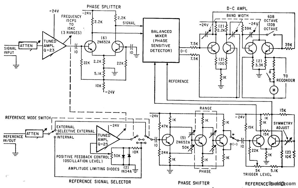
Lock-in amplifier beats desired weak signal (40 db below input noise level) with reference signal of same frequency, to give d-c cutout that can be measured or recorded, as required in radio astronomy. Bandwidth is variable down to 0.12 cps for tuning range of from 15 to 15,000 cps. Also used for checking oscillafor frequency against WWV to one part in 1010.-R. D. Moore, Lock-In Amplifier for Signals Buried in Noise, Electronics, 35:23, p 40-43.
Reprinted Url Of This Article:
http://www.seekic.com/circuit_diagram/Signal_Processing/MEASURING_SIGNALS_IN_NOISE.html
Print this Page | Comments | Reading(3)
Code: