Published:2009/7/17 3:47:00 Author:Jessie | From:SeekIC

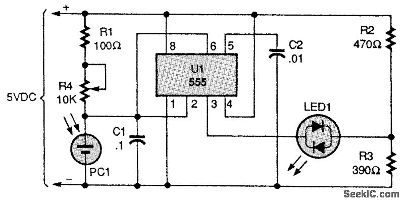
The circuit is based on a 555 timer IC, U1, and operates on 5-Vdc to make it usable with digital logic. The operating power of the circuit can be converted to 12 V by increasing the values of R2 and R3. Train detection is accomplished by photocell PC1, which should be mounted between the rails, flush with or slightly below the ties. A small light must be mounted directly above PC1 when it is used in a dark area. Resistor R4 is adjusted so that when a train covers PC1, the circuit triggers. Resistor R1 reduces the current to U1 if R4 is set for minimum resistance. Variable resistor R4 can also be ad-justed so that each individual car in a train will change the colors of LED1, a bicolor unit, back and forth, indicating train movement. That can be handy if two circuits are used, one at each end of the track block. It will indicate that the train has begun to move, Mount LED1 on the control panel. The circuit is designed to indicate a green when no train is present. When a train covers PC1, U1 switches LED1 to red, indicating that the train is in position.
Reprinted Url Of This Article:
http://www.seekic.com/circuit_diagram/Signal_Processing/MODEL_TRAIN_TRACK_CONTROL_SIGNAL.html
Print this Page | Comments | Reading(3)
Code: