Published:2009/7/24 2:11:00 Author:Jessie | From:SeekIC

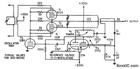
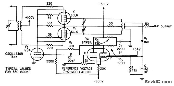
Automatic amplitude stabilization of r-f test signals, within 1 db over 1,300 to 1 frequency range, is achieved by demodulating r-f output with D1 and feeding demodulated voltage back to grid Y of differential amplifier V4. Permits rapid and accurate response measurements over wide range without resetting signal level to input of device under lest.-A. Fong, Feedback Stabilizes Signal Generator, Electronics, 33:29, p 71-73.
Reprinted Url Of This Article:
http://www.seekic.com/circuit_diagram/Signal_Processing/MODULATOR_WITH_FEEDBACK.html
Print this Page | Comments | Reading(3)
Code: