Published:2009/7/16 1:02:00 Author:Jessie | From:SeekIC

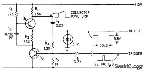
Produces pulses of known length and amplitude when triggered by external pulse.-C. M. Stewart, Monostable Pulse Generator Employs Zener-Diode Clamp, Electronics, 34:19, p 76-77.
Reprinted Url Of This Article:
http://www.seekic.com/circuit_diagram/Signal_Processing/MONOSTABLE_WITH_ZENER_CLAMP.html
Print this Page | Comments | Reading(3)
Code: