Published:2011/5/19 21:24:00 Author:Felicity | Keyword: Memory Strengthener (the 2nd) | From:SeekIC

Work of the circuit
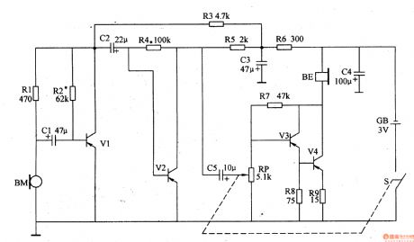
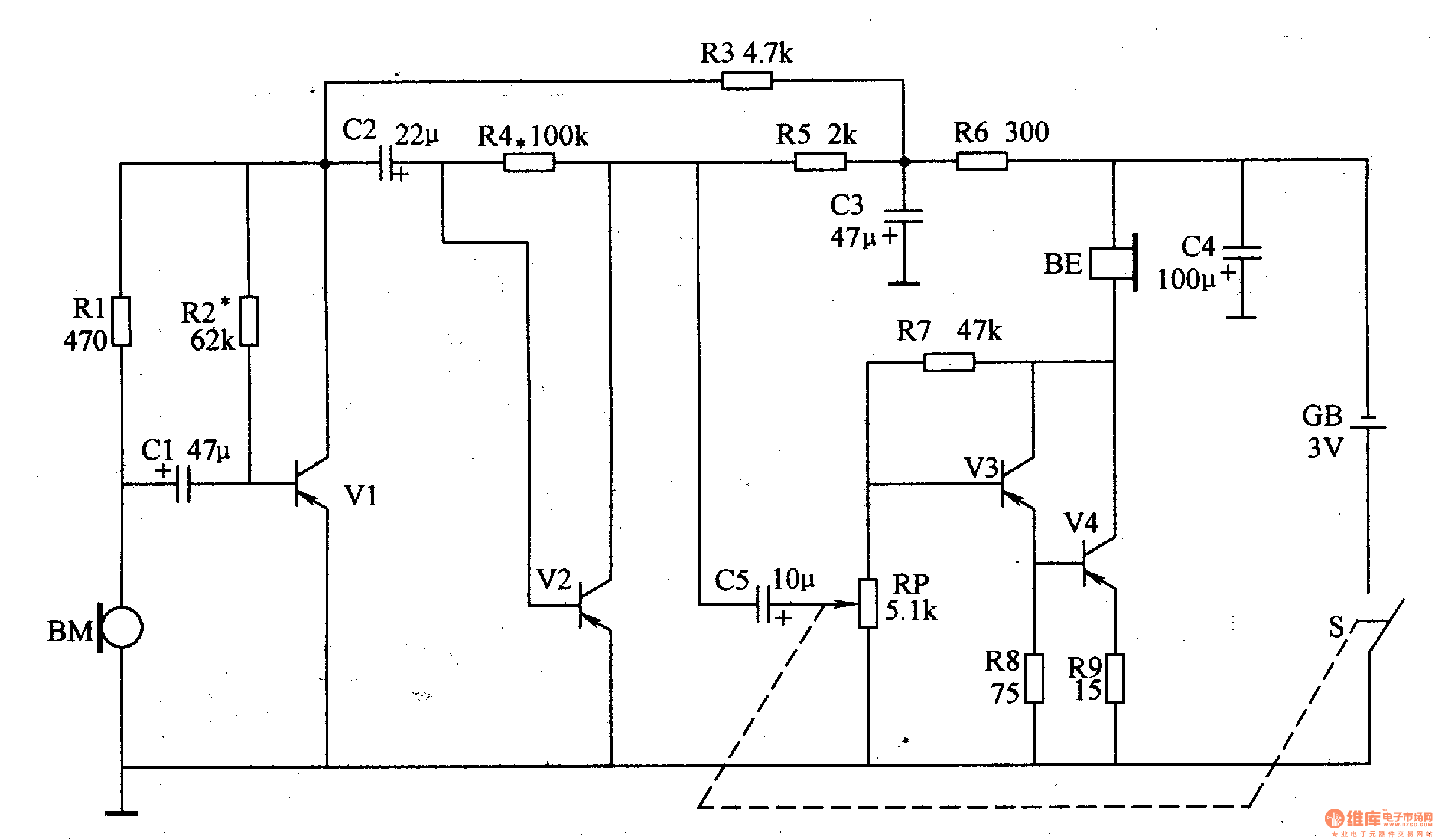
The circuit consists of mike BE, three-step amplifier circuit and earphone. (It is showed in picture 9-76.). BM turns the sound signal it collects into electric signal. The signal will be amplified. Then the amplified signal will drive BE to make sound which is louder.
If you change the value of RP you can change the volume.
Reprinted Url Of This Article:
http://www.seekic.com/circuit_diagram/Signal_Processing/Memory_Strengthener_the_2nd.html
Print this Page | Comments | Reading(3)
Code: