Published:2009/7/21 7:53:00 Author:Jessie | From:SeekIC

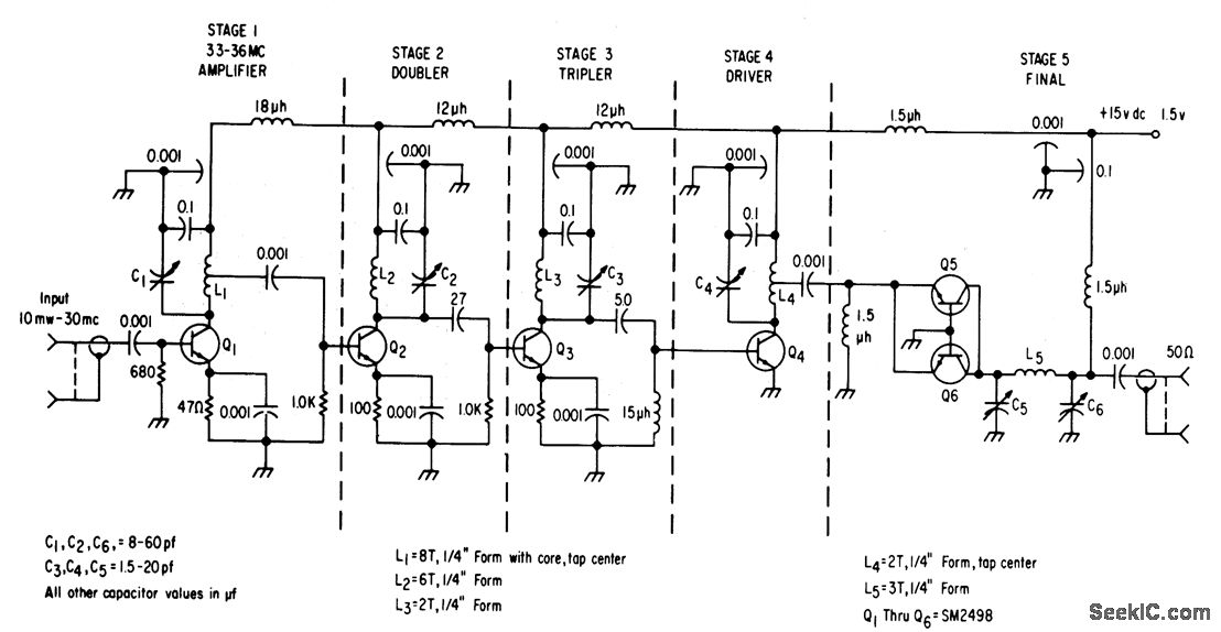
First stage acts as buffer for oscillator, while Q2 and Q3 multiply frequency. Class-C power amplifier using two SM2498 transistors in parallel delivers 300 mw to 50-ohm load.-Texas Instruments Inc., Solid-State Communications, McGraw-Hill, N.Y.,1966, p 325.
Reprinted Url Of This Article:
http://www.seekic.com/circuit_diagram/Signal_Processing/NARROWBAND_162_180_MC_TRANSMIITER.html
Print this Page | Comments | Reading(3)
Code: