Published:2009/6/26 2:15:00 Author:May | From:SeekIC

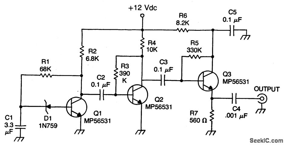
The zener diode is an avalanche rectifier in the reverse bias mode connected to the input circuit of a wideband rf amplifier. The noise is amplified and applied to the cascade wideband amplifier, transistors Q2 and Q3.
Reprinted Url Of This Article:
http://www.seekic.com/circuit_diagram/Signal_Processing/NOISE_GENERATOR_CIRCUIT.html
Print this Page | Comments | Reading(3)
Code: