Published:2011/5/10 2:30:00 Author:Sue | Keyword: Optical Controlled, LED, Illuminations | From:SeekIC

The optical controlled LED illuminations introduced here only works at night, and can be used as home decorations, shop’s ad lights or festival illuminations.
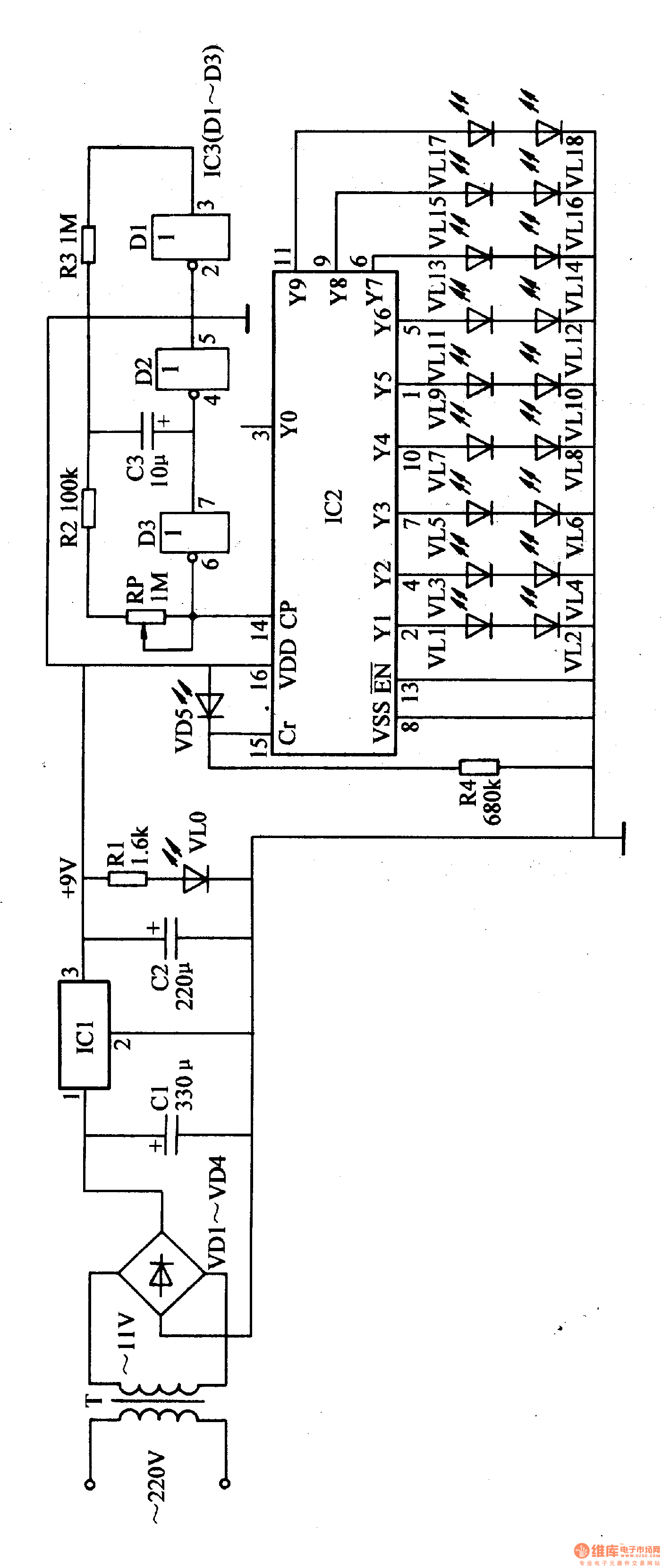
Working Principles:
As seen in the figure 1-168,the circuit consists of power circuit, optical controlled circuits, multivibrator and LED drive control circuit.
Alternating voltage 20Y can generate +9V voltate after works of T,VD1-VD4,C1 and IC1, which can be served as working power of IC2,IC3. Another current illuminates VL0 after being limited by R1.
In the daytime, VD5 is in low resistance state in light, and IC2 can't count because of 15 pin's high level. The YO terminal outputs high level, and Y1-Y9 output low level, so VL1-VL8 all don't illuminate. At night, VD5 is in high resistance state because of lack of light, so 15 pin becomes low level and IC2 begins to count. Multivibrator generates oscillate signals which can serve as IC2's 14 pin counting pulse, make IC2's YO-Y9 output high level one by one, and VL1-VL8 are illuminated one by one, showing the cycling light effect.
When we adjust RP's value, we can change the oscillate frequency of multivibrator, which can change the twinkle effect of the illuminations.
Reprinted Url Of This Article:
http://www.seekic.com/circuit_diagram/Signal_Processing/Optical_Controlled_LED_Illuminations.html
Print this Page | Comments | Reading(3)
Code: