Published:2009/7/20 23:17:00 Author:Jessie | From:SeekIC

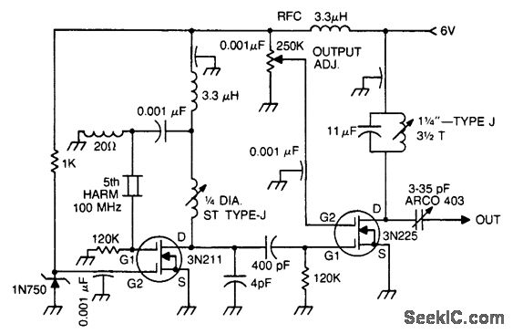
100 MHz oscillator and buffer (courtesy Texas Instruments Incorporated).
Reprinted Url Of This Article:
http://www.seekic.com/circuit_diagram/Signal_Processing/Oscillator_Circuit/100_MHz_oscillator_and_buffer.html
Print this Page | Comments | Reading(3)
Code: