Published:2009/7/6 7:46:00 Author:May | From:SeekIC

Reprinted Url Of This Article:
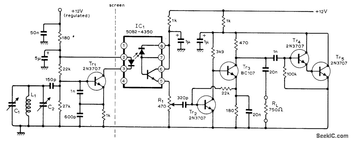
http://www.seekic.com/circuit_diagram/Signal_Processing/Oscillator_Circuit/15_57_MHz_OPTICALLY_ISOLATED_VFO.html
Print this Page | Comments | Reading(3)
Code: