Published:2009/7/6 6:04:00 Author:May | From:SeekIC

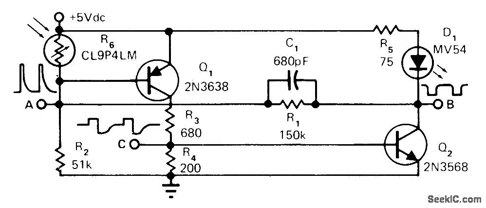
Provides 5-V pulses at about 5 kHz only if photocell is illuminated by its companion LED. Repetition rate varies with illumination, so interruption or attenuation of light produces easily detected frequency change that can be used as control signal. Applications include fail-safe interruption monitor and illumination transducer. Oscillation stops if beam is completely interrupted or if strong ambient light falls on photocell.-H. L. Hardy, FM Pulsed Photocell Is Foolproof, EDN Magazine, March 5, 1975, p 72.
Reprinted Url Of This Article:
http://www.seekic.com/circuit_diagram/Signal_Processing/Oscillator_Circuit/5_kHz_PHOTOCELL_OSCILLATOR.html
Print this Page | Comments | Reading(3)
Code: