Published:2009/6/23 1:41:00 Author:Jessie | From:SeekIC





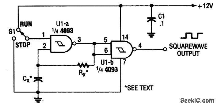
In this circuit,two gates from the quad 4093 package are used to form a simple astable squarewave oscillator.The values for RX and CX are approximately as follows∶These values can be scaled for other frequencies.
Reprinted Url Of This Article:
http://www.seekic.com/circuit_diagram/Signal_Processing/Oscillator_Circuit/ASTABLE_OSCILLATORI.html
Print this Page | Comments | Reading(3)
Code: