© 2008-2012 SeekIC.com Corp.All Rights Reserved.
Published:2009/7/10 3:03:00 Author:May | From:SeekIC

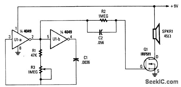
Two gates, U1A and U1B (1/3 of a 4049 hex inveter), are connected in a VFO circuit. Components R1, R3, and C1 set the frequency range of the VFO. With the values given, the circuit's output can range from a few hundred hertz to over several thousand hertz by adjusting R3.
The simplest way to change the frequency range of the oscillator is to use different capacitance values for C1. A rotary switch, teamed up with a number of capacitors, can be used to select the desired fre-quency range.
Reprinted Url Of This Article:
http://www.seekic.com/circuit_diagram/Signal_Processing/Oscillator_Circuit/AUDIO_OSCLLATOR.html
Print this Page | Comments | Reading(3)
Response in 12 hours
© 2008-2012 SeekIC.com Corp.All Rights Reserved.
Code: