Published:2009/7/14 21:36:00 Author:May | From:SeekIC

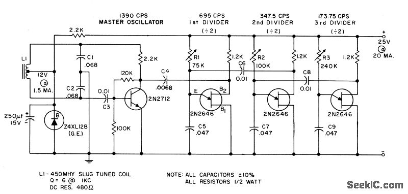
Class C Hartley master oscillator serves for synchronizing three basic relaxation oscillators that would otherwise be free-running. Dividers remain locked over temperature range of 0 to 70℃.- Transistor Manual, Seventh Edition, General Electric Co., 1964, p 342.
Reprinted Url Of This Article:
http://www.seekic.com/circuit_diagram/Signal_Processing/Oscillator_Circuit/CASCADED_UJT_RELAXATION_OSCILLATOR_DIVIDER.html
Print this Page | Comments | Reading(3)
Code: