© 2008-2012 SeekIC.com Corp.All Rights Reserved.
Published:2012/10/17 22:16:00 Author:Ecco | Keyword: oscillator | From:SeekIC

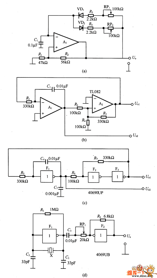
Figure (a) is the square wave output circuit, in the circuit, the op amp A1 is added a positive feedback, i.e., feedback resistor R2 is connected between the noninverting input and output terminals to form a comparator circuit with the delay characteristics. The voltage on R1 and the charging and discharging voltageof capacitor C1 cause oscillation from comparison. High and low level time of output square wave can be set independently, and the oscillation frequency is determined by the high and low level time, namely, it uses diodes VD1 and VD2, potentiometer RP1 and RP2 to set the charging and discharging time of capacitor C1.
Reprinted Url Of This Article:
http://www.seekic.com/circuit_diagram/Signal_Processing/Oscillator_Circuit/Commonly_used_simple_oscillator_circuit_diagram.html
Print this Page | Comments | Reading(3)
Response in 12 hours
© 2008-2012 SeekIC.com Corp.All Rights Reserved.
Code: