Published:2009/7/2 2:04:00 Author:May | From:SeekIC

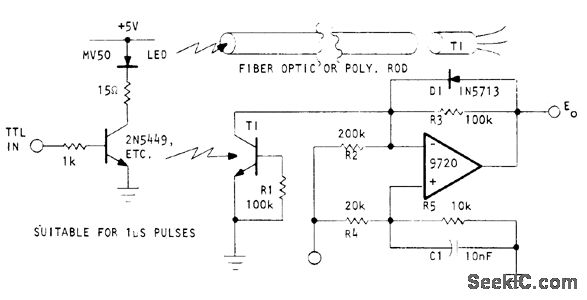
Length of fiber or polystyrene rod determines amount of voltage isolation provided between digital or analog signal input and Fairchild FPT 100 photodetector driving Optical Electronics 9720 opamp having 100-mA output for driving cables, relays, or loudspeakers. LED can be Monsanto MV50 handling up to 200 mA. Output of opamp is zero for no light. Pulse-duration modulation should be used for transmission of analog data.- High Voltage Optically Isolated Data Coupler, Optical Electronics, Tucson, AZ,Application Tip 10266.
Reprinted Url Of This Article:
http://www.seekic.com/circuit_diagram/Signal_Processing/Oscillator_Circuit/DATA_COUPLER_WITH_ISOLATION.html
Print this Page | Comments | Reading(3)
Code: