Published:2011/8/8 3:13:00 Author:Ecco | Keyword: Digital lock | From:SeekIC

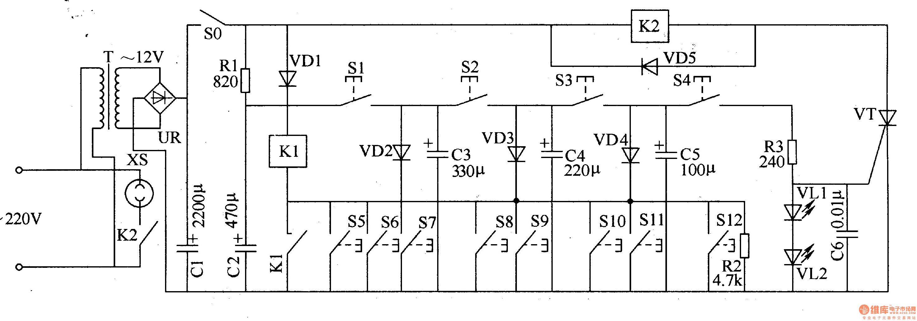
The digital lock circuit is composed of the password control circuit and sound and alarm circuir, and it is shown in Figure 3-104. Password control circuit consists of password buttons SO-S2, thyristors VTl-VT3, resistors Rl-R3, light-emitting diode VL and solenoid YA. Sound and alarm circuit consists of the error buttons S3-S9, thyristor VW, resistors R4-R8, voice integrated circuit ICl, audio power amplifier integrated circuit IC2, voltage regulator diode VS, capacitors Cl-C5 and the speaker BL. Rl-R4 and R6-R8 use the 1/4W carbon film resistors or metal film resistors; R5 select the 1/2W metal film resistor.
Reprinted Url Of This Article:
http://www.seekic.com/circuit_diagram/Signal_Processing/Oscillator_Circuit/Digital_lock_7.html
Print this Page | Comments | Reading(3)
Code: