Published:2009/7/5 22:27:00 Author:May | From:SeekIC



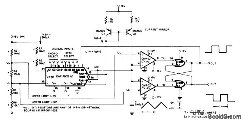
The microprocessor-controlled oscillator has a 8159 to 1 frequency range covering 2.5 Hz to 20 kHz. An exponential, current output IC DAC functioning as a programmable current source alternately charges and discharges capacitor between precisely-controlled upper and lower limits. The circuit features instan-taneous frequency change, operates with +5 ±1 V and -15 V ±3 V supplies, and has the dynamic range of a 13-bit DAC.
Reprinted Url Of This Article:
http://www.seekic.com/circuit_diagram/Signal_Processing/Oscillator_Circuit/EXPONENTIAL_DIGITALLY_CONTROLLED_OSCILLATOR.html
Print this Page | Comments | Reading(3)
Code: