Published:2009/7/19 22:17:00 Author:Jessie | From:SeekIC

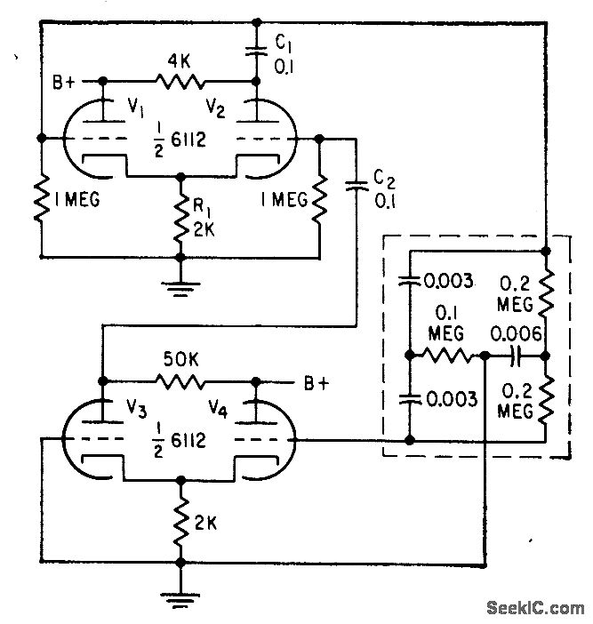
C1 provides positive feedback between amplifier V2 and cathode follower V1, causing oscillation at frequency and amplitude at which loop gain is unity. Twin-T network in negative feed-back loop maintains pure sine wave, free of harmonics. Variable-gain negative-feedback amplifier V3-V4 stabilizes frequency and amplitude at prescribed values.-Oscillator Patent is Granted, Electronics, 31;37, p 108.
Reprinted Url Of This Article:
http://www.seekic.com/circuit_diagram/Signal_Processing/Oscillator_Circuit/FEEDBACK_OSCILLATOR.html
Print this Page | Comments | Reading(3)
Code: