Published:2009/6/19 3:17:00 Author:May | From:SeekIC

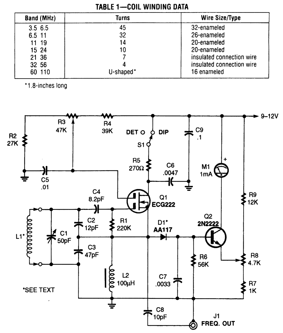
Useful for measuring the resonant frequencies of antennas, tuned circuits, and also as a tuned detector, this circuit is a modem variation of the classic vacuum tube grid dip oscillator. It coupled the G.D.O. to a tuned circuit and caused RF energy to be absorbed by the unknown tuned ctrcutt when the G.D.O. frequency was the same as that of the tuned circuit in question. This showed as a dip in the meter reading.
Reprinted Url Of This Article:
http://www.seekic.com/circuit_diagram/Signal_Processing/Oscillator_Circuit/GATE_DIP_OSCILLATOR_II.html
Print this Page | Comments | Reading(3)
Code: