Published:2009/7/21 2:28:00 Author:Jessie | From:SeekIC

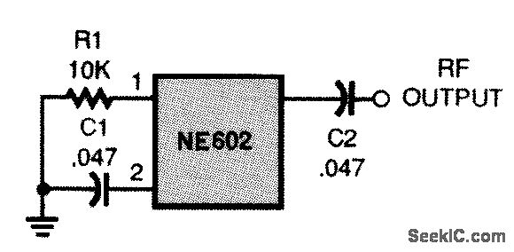
If the LO signal of the NE602 is sent directly to the output pins, the device can be used as a low-cost, high-frequency oscillator.
Reprinted Url Of This Article:
http://www.seekic.com/circuit_diagram/Signal_Processing/Oscillator_Circuit/NE602_OSCILLATOR_CIRCUIT.html
Print this Page | Comments | Reading(3)
Code: