Published:2009/6/23 2:12:00 Author:May | From:SeekIC



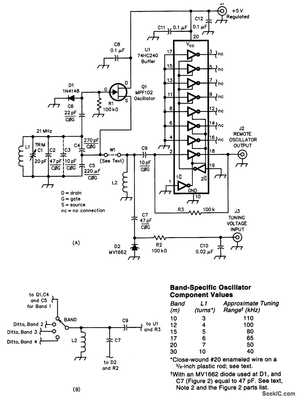
A remote VFO is sometimes used to control a transmitter or receiver. The circuit shown uses an MPF102 FET and is conyolled by a dc voltageat J3. The table shows values for L1 for various bands from 30 to 10 meters. U1 senres as a buffer amplifier.
Reprinted Url Of This Article:
http://www.seekic.com/circuit_diagram/Signal_Processing/Oscillator_Circuit/REMOTE_OSCILLATOR_HIGH_FREQUENCY_VFO.html
Print this Page | Comments | Reading(3)
Code: