Published:2009/6/23 1:50:00 Author:May | From:SeekIC

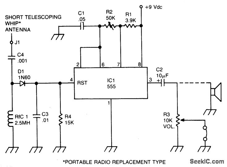
A sidetone oscillator is a special audio oscillator that is turned on and off with the transmitter. The oscillator is rf-driven and bat-tery operated. It uses a 555 IC timer as an astable multivibrator. Keying is accomplished by applying a positive dc potential, developed from the rf signal, to the reset terminal of the 555.
Reprinted Url Of This Article:
http://www.seekic.com/circuit_diagram/Signal_Processing/Oscillator_Circuit/RE_POWERED_SIDETONE_OSCILLATOR.html
Print this Page | Comments | Reading(3)
Code: