Published:2009/7/5 22:52:00 Author:May | From:SeekIC

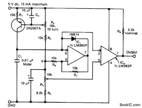
The circuit consists of a variable current Source that charges a capacitor, which is rapidly discharged by a Schmitt-trigger comparator, The sawtooth waveform thusproduced is fed to another comparator, one with a variable switching level. The outputfrom the second comparator is a pulse train with an independently adjustable frequencyand duty cycle. The variable-frequency ramp generator consists of capacitor C1, which is charged by a variable and nonlinear current source. The latter compnses a 2N2907A pnp transistor, plus resistor R1 and the potentiometer R2 Capacitor C2 eliminates any ripple or nolse at the base ofthe transistor that might cause frequency jitter at the output
Reprinted Url Of This Article:
http://www.seekic.com/circuit_diagram/Signal_Processing/Oscillator_Circuit/SINGLE_CONTROL_FOUR_DECADE_VARIABLE_OSCILLATOR.html
Print this Page | Comments | Reading(3)
Code: