Published:2009/7/19 21:32:00 Author:Jessie | From:SeekIC

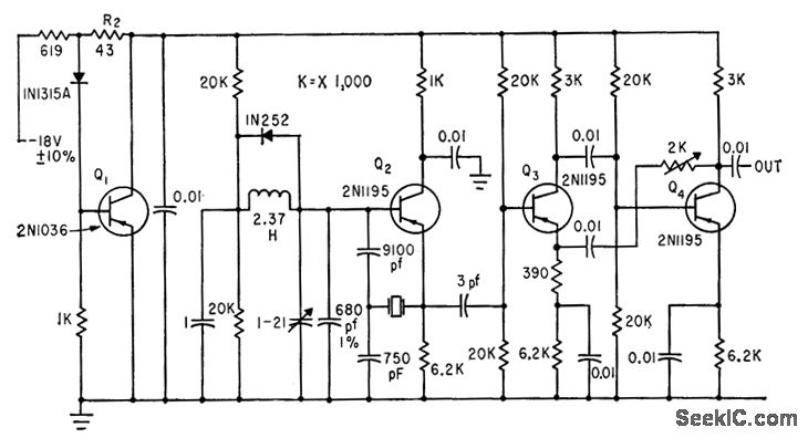
Crystal operates at series resonance in feedback path between emitter of Q2 and tank tap. Q1 is shunt voltage regulator providing power-supply isolation. Two-stage feedback amplifier Q3-Q4 provides output impedance of about 150 ohms when R1 is adjusted for 0.5-V peak-to-peak output swing.-J. W. Hamblen and J. B. Oakes, Instrumentation and Telemetry of Transit Navigational Satellites, Electronics, 34:32, p 148-153.
Reprinted Url Of This Article:
http://www.seekic.com/circuit_diagram/Signal_Processing/Oscillator_Circuit/STABLE_3_MC_CRYSTAL_COLPITTS.html
Print this Page | Comments | Reading(3)
Code: