Published:2009/7/16 3:15:00 Author:Jessie | From:SeekIC

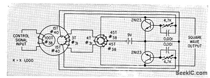
Holds frequency setting for many hours after removal of control signal. Operates between 100 kc and 1 Mc. Gives square-wave output.-R. J. Sheirn, Transfluxor Oscillator Gives Drift-Free Output, Electronics, 33:10, p 48-49.
Reprinted Url Of This Article:
http://www.seekic.com/circuit_diagram/Signal_Processing/Oscillator_Circuit/TRANSFLUXOR_OSCILLATOR.html
Print this Page | Comments | Reading(3)
Code: