Published:2009/7/5 22:53:00 Author:May | From:SeekIC


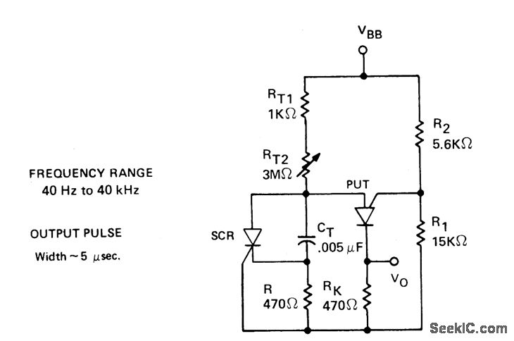
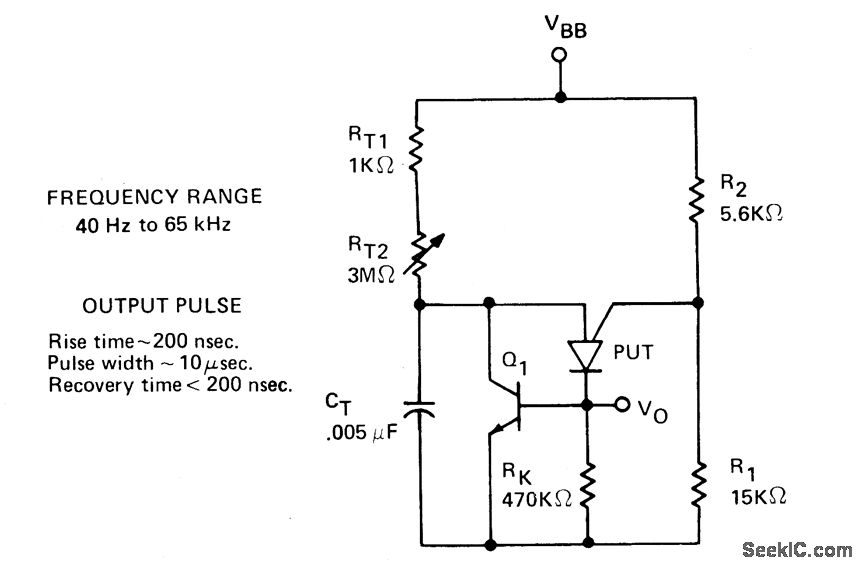
The variable oscillator circuit includes active elements for discharging the timing capacitor CT shown in Fig. 66-7A. A second method is given as in Fig. 66-7B
Reprinted Url Of This Article:
http://www.seekic.com/circuit_diagram/Signal_Processing/Oscillator_Circuit/TUNABLE_FREQUENCY_OSCILLATORS.html
Print this Page | Comments | Reading(3)
Code: