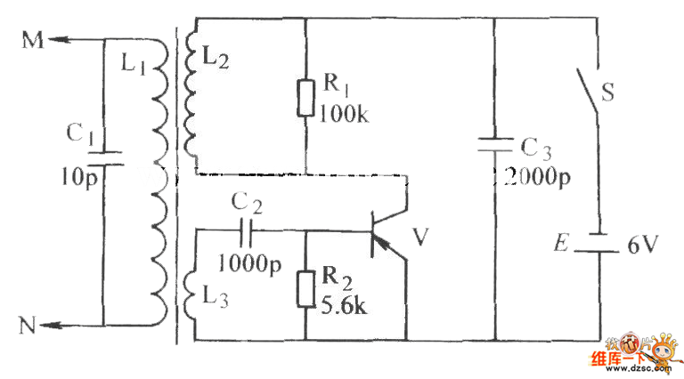
Published:2011/8/25 1:40:00 Author:Ecco | Keyword: Transformer oscillator, single tube | From:SeekIC

Reprinted Url Of This Article:
http://www.seekic.com/circuit_diagram/Signal_Processing/Oscillator_Circuit/Transformer_oscillatorsingle_tube_circuit_diagram.html
Print this Page | Comments | Reading(3)
Code: