Published:2009/6/24 2:26:00 Author:May | From:SeekIC

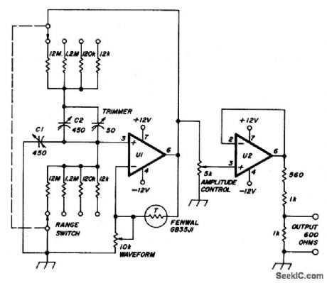
Wien bridge sine-wave oscillator using two RCA CA3140 op amps covers 30 Hz to 100 kHz with less than 0.5 percent total harmonic distortion. The 10k pot is adjusted for the best waveform. Capacitor C1 and C2 are a two-gang, 450-pF variable with its frame isolated from ground. Maximum output into a 600-ohm load is about 1 volt rms.
Reprinted Url Of This Article:
http://www.seekic.com/circuit_diagram/Signal_Processing/Oscillator_Circuit/WIEN_BRIDGE_OSCILLATOR_1.html
Print this Page | Comments | Reading(3)
Code: