Published:2009/7/20 23:39:00 Author:Jessie | From:SeekIC

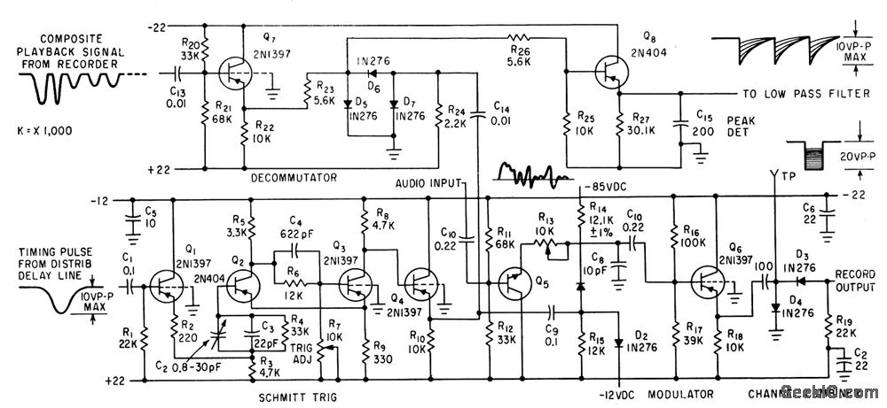
Schmitt trigger reshapes timing pulses from 52-channel distributing delay line. Modulator samples audio signal from one channel during record mode, while decommutator separates individual channels from composite signal during playback from time-division multiplexing on two-track video recorder.-M. H. Damon and F. J. Messina, High-Density Storage of Wideband Analog Data, Electronics, 35:13, p 45-49.
Reprinted Url Of This Article:
http://www.seekic.com/circuit_diagram/Signal_Processing/PAM_MODULATOR_DECOMMUTATOR_FOR__VIDEO_RECORDER.html
Print this Page | Comments | Reading(3)
Code: