Published:2009/7/10 2:42:00 Author:May | From:SeekIC

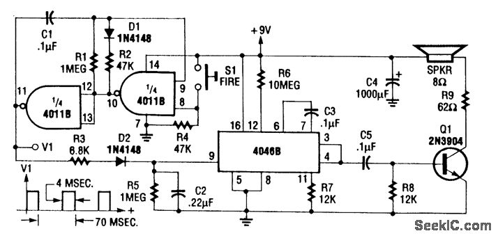
The 4011B astable is gated by S1 to produce 4-ms pulses at 70-ms intervals. Each pulse charges C2 via D2 producing a high tone that decays slowly as C2 discharges through R5.The process repeats for each pulse
Reprinted Url Of This Article:
http://www.seekic.com/circuit_diagram/Signal_Processing/PHASOR_SOUND_GENERATOR.html
Print this Page | Comments | Reading(3)
Code: