Published:2009/7/16 2:48:00 Author:Jessie | From:SeekIC

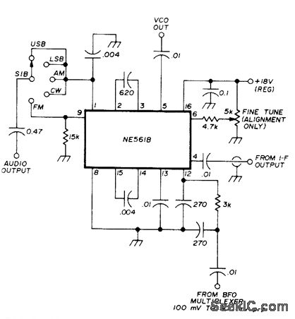
Developed for use with BFO multiplexor in 455-kHz multimode detection system using NE561 phase-locked loop IC. Circuit provides required 90° phase-shift network in series with output of BFO multiplexor, to compensate for lockup of NE561 in quadrature with signal at input of phase detector during AM reception. IF input level to NE561 should be below about 100 mVRMS for minimum distortion. Audio output level will then be at least half that for narrow-band FM, about same for SSB and CW, and about double for AM if both sidebands are passed by IF filters. FM audio output level is proportional to percent deviation and cannot be increased by increasing signal level. Two 0.004-μF capacitors limit audio bandwidth to about 4 kHz. VCO output of NE561 is 0.6 V P-P square wave at AM carrier or BFO frequency.-J. Regula, BFO Multiplexor for a Multimode Detector, Ham Radio, Oct. 1975, p 52-55.
Reprinted Url Of This Article:
http://www.seekic.com/circuit_diagram/Signal_Processing/PLL_DETECTOR.html
Print this Page | Comments | Reading(3)
Code: